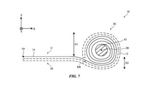
繼摺疊手機正式商品化後,現在有些手機品牌開始思索捲軸手機。Motorola 在 MWC 2023 上已經展示出其捲軸手機概念,而現在又有人發現,Motorola 已向美國專利商標局提交了一項新專利,將於捲軸手機螢幕上配備多個螢幕下指紋辨識感測器。
Motorola 提交捲軸手機專利,整個螢幕都可指紋解鎖 |
| 作者 邱 倢芯|發布日期 2024 年 11 月 08 日 16:18 | 分類 手機 , 科技生活 , 面板 |
原本可能是 2021 年最創新手機,南韓 YouTuber 開箱 LG 捲軸手機 |
| 作者 邱 倢芯|發布日期 2022 年 09 月 22 日 11:16 | 分類 3C手機 , Android 手機 , 會員專區 | edit |
雖然 LG 手機部門早裁撤,但其實有捲軸手機 LG Rollable 計畫,外界預估,如果當時 LG 推出這款捲軸手機,有可能是 2021 年最創新性的手機。只是 LG 手機部門裁撤後,LG Rollable 該胎死腹中,沒想到南韓 YouTube 頻道「뻘짓연구소」透過關係拿到 LG Rollable,使這支手機有機會亮相。
微博帳號爆料:Google 摺疊手機由富士康代工生產 |
| 作者 邱 倢芯|發布日期 2022 年 08 月 06 日 11:32 | 分類 Android 手機 , Google , 會員專區 | edit |
過往主打軟體、系統應用的 Google,近年來不斷大力著墨自家硬體產品,如推出 Pixel 系列手機、耳機等。不過 Pixel 手機材料多是塑膠、玻璃與金屬,現在有微博主爆料,Google 現在有兩款旗艦機會採用陶瓷。
摺疊手機看膩了?傳三星今年要將手機捲起來 |
| 作者 邱 倢芯|發布日期 2022 年 03 月 25 日 12:52 | 分類 Android 手機 , Samsung , 會員專區 | edit |
說到摺疊手機,外界第一個想到的必定是三星電子(Samsung)Galaxy Z 系列;但手機外觀、功能都走得相當前面的三星可能怕消費者看膩摺疊,外傳今年稍晚可能推出捲軸式新機。
新型態手機戰將開打?Google Pixel 不僅要摺一摺還要捲一捲 |
| 作者 邱 倢芯|發布日期 2021 年 06 月 09 日 16:24 | 分類 Android 手機 , Google , 會員專區 | edit |
先前就有傳聞指稱,Google Pixel 將與三星(Samsung)合作,一同打造可摺疊的 Pixel 手機 Pixel Fold;只不過,Google 的野心可能不僅於讓手機摺一摺,也想捲一捲變成捲軸手機 Pixel Roll。
Galaxy Fold 正式發售還沒搞定,三星又開始打「捲軸螢幕」手機的主意 |
| 作者 愛范兒|發布日期 2019 年 06 月 14 日 15:52 | 分類 3C手機 , Samsung , 面板 | edit |
近日,媒體 LetsgoDigital 曝光三星最新專利文件。文件顯示,三星目前在研發一種像捲軸滾動的手機。 繼續閱讀..
