蘋果獲摺疊螢幕專利,搭配「虛擬快門鍵」

作者 | 發布日期 2023 年 02 月 16 日 14:47 | 分類 Apple , 面板 line share Linkedin share follow us in feedly line share
Loading...
蘋果獲摺疊螢幕專利,搭配「虛擬快門鍵」

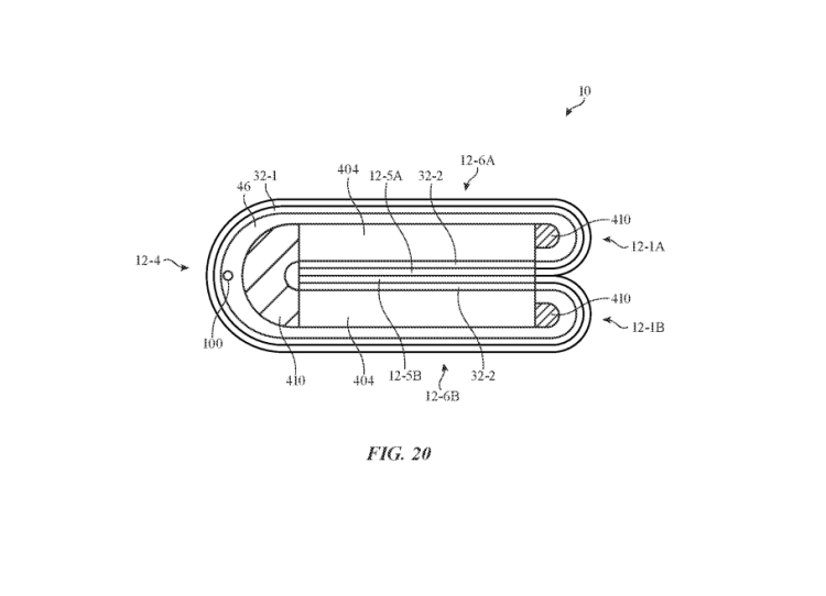
美國專利商標局(USPTO)網站顯示,蘋果獲重量級專利,燃起市場預期蘋果會推出可摺疊設備的希望。文件顯示蘋果展示對摺設備,螢幕幾乎環繞機身,搭配多個觸控感測器,甚至邊緣位置,允許使用者觸摸設備各部分使用對應功能。

用戶可輕敲設備側面控制鏡頭,蘋果稱為「虛擬快門鍵」;使用者還能用手側面上下滑動調整音量。瑞銀分析師最新報告說,此專利顯示摺疊設備的可能性,但不是今年。市場研究公司 CCSInsight 去年預測,蘋果將在 2024 年推出摺疊螢幕 iPad。

(本文由 品玩 授權轉載;首圖來源:shutterstock)

延伸閱讀:

想請我們喝幾杯咖啡?

icon-tag

每杯咖啡 65 元

icon-coffee x 1
icon-coffee x 3
icon-coffee x 5
icon-coffee x

您的咖啡贊助將是讓我們持續走下去的動力

總金額共新臺幣 0
《關於請喝咖啡的 Q & A》